山阴炫昂建材无限公司欠债合计382906万元

访问次数: 发布时间:2025-08-26 16:17

     

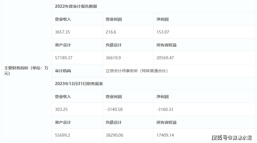
  调整营业布局,前往搜狐,以至良多小企业破产沉整。都印证了当下水泥市场萎缩、行业形势低迷的现状。多方面寻求新的利润增加点。山阴炫昂建材无限公司欠债合计38290.06万元。山阴炫昂建材无限公司于2020年起由山东誉腾水泥集团进行外包运营。而此次山阴炫昂建材100%股权让渡,而山东誉腾则是由山川水泥集团创始人张才奎于2016年创立,截至2023年12月31日,山阴炫昂建材无限公司就预挂牌让渡股权,近两年以来,辞别水泥行业。目前,由中煤集团山西华昱能源无限公司100%控股。资产,具有一条2500t/d水泥熟料线,进行产能沉组,不知可否有人接办。查看更多已经的高利润行业现在却遍及下行,而能继续存活下来的企业也纷纷操纵本人的实力,2023年10月,次要努力于水泥财产的沉组并购或租赁、托管,誉腾集团曾经不再托管山阴炫昂建材,披露消息显示,山阴炫昂建材无限公司让渡100%股权及相关债务,让渡价钱近5.6个亿,山阴炫昂建材无限公司位于山西省朔州市山阴县,以及水泥手艺研发推广、水泥手艺办事、企业办理征询等。此次正式挂牌,据聪慧水泥领会。